在連續性生產的破碎過程中發現:立式垂直進料破碎機生產過程中發現:立式垂直進料破碎機的生產過程為間隙式,為了保證生產過程的穩定性,要保證料斗時刻處于滿料狀態,但是活塞在對垃圾壓縮后的上升階段,垃圾由于受到的壓力頓時減少,破碎效率明顯降低幾乎不破碎,而與此同時,破碎室的刀片仍在旋轉基本處于空轉狀態,造成了能量無謂消耗。
為了實現生產過程的連續性,降低不必要的能力消耗,有必要對破碎機進行改進,將垂直單向進料破碎機設計成雙向進料的臥式破碎機,其結構如下。

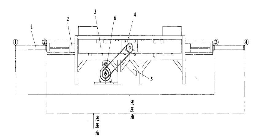
雙向進料破碎機結構示意圖
1-郵缸 2-壓塊 3-壓縮室 4-破碎室 5-出料口 6-電機
臥式雙向進料破碎機由兩個相對稱的壓縮系統組成,共用同一動刀組進行破碎。液壓站與兩個油缸的鏈接方式如下所示,其工作過程如下:液壓油由液壓站上的出油口一分別進入左側活塞的進油口1和右側活塞的進油口3,分別推動左側活塞向右運動和右側活塞向右運動,當兩側活塞同時到達頂點后,液壓油再經液壓站上的出油口分別進入左側活塞的油口2和右側活塞的進油口4,推動兩側活塞向左運動,此時兩側活塞中原有的液壓油分別通過進油口1和3經出油口一回到液壓站。
下一篇: 雙向進料臥式破碎機的工作過程
2021-11-30
2021-11-15